法人向けトップ
> 電子デバイス・産業用機器
> 制御機器トップ
> サービス・サポート
> FA技術サポート
> システム提案
> 提案資料 No.20 PV310+FPΣ+シリアルプリンター 検査結果の印刷
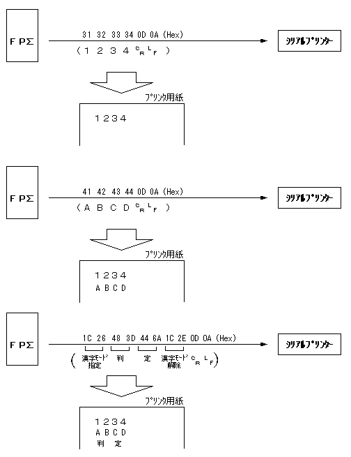
PV310の検査結果をFPΣから読出しシリアルプリンターへ印刷します。

FPΣからPV310へ検査スタート(%S)コマンドを送信し、検査結果を受信し、その内容をシリアルプリンターへ印刷します。
R0をONすることで、1秒間隔で検査・印刷を行います。
|


| 商品 | 品番 |
個数 |
|---|---|---|
| FPΣ C32TH | AFPG2543H |
1 |
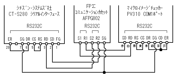
| コミュニケーションカセット COM2 | AFPG802 |
1 |
| PV310 | ANPV0310JDN |
1 |
| モニター (キーパッドコネクタ付き) |
ANMX8300 |
1 |
| VGAモニタケーブル (ケーブル長2m) |
ANMX83311 |
1 |
| カメラ+レンズ | ANM831+ANB845NL |
1組 |
| 倍速ランダムカメラケーブル (ケーブル長3m) |
ANM84303 |
1 |
| シリアルケーブル (ケーブル長3m) |
ANM81303 |
1 |
| キーパッド (ケーブル長2m) |
ANM85202 |
1 |
| シチズン・システムズ社 CTシリーズ シリアルプリンター |
CT-S280RSJなど |
1 |

「メニューバー」-「環境」-「結果出力設定」

「メニューバー」-「環境」-「シリアル設定」

(その他、検査の為の設定等は、この資料では割愛致します。)



FPWIN GR-「メニューバー」-「オプション」-「システムレジスタ設定」-「COM1設定」

FPWIN GR-「メニューバー」-「オプション」-「システムレジスタ設定」-「COM2設定」


